Overview
  Außennebenstelle

Eine Außennebenstelle (AN) ist eine Sprechstelle einer Fernsprech-Reihenanlage, die zwar mit der Linienwählerleitung der Reihenanlage verbunden, im Übrigen aber nicht mit in Reihe geschaltet ist.

Außennebenstellen werden eingerichtet, wenn einzelne Sprechstellen weiter entfernt von der Reihenanlage gelegen sind, z.B. in der Wohnung des Betriebsleiters.

Sie werden mit einem gewöhnlichen Fernsprecher ausgestattet und mit einer Doppelleitung angeschlossen und können nur die Hauptstelle (H) erreichen; ihre Verbindungen mit einem Hauptanschluß (Amtsleitung) müssen in der Regel an einer besonderen Zusatzeinrichtung oder einem Klappenschrank für Reihenanlagen (Kl) vermittelt werden. Die übrigen Reihenstellen (N, H) können die Außennebenstelle unmittelbar anrufen.

 

 

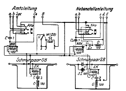
Beispiel für einen Klappenschrank für Reihenanlagen zum Anschluß von Außennebenstellen:

Schaltung

Quelle:Stiller, Schwachstromtechnik
Handwörterbuch für das elektrische Fernmeldewesen