|
Man unterscheidet Hakenumschalter, die in Fernsprechwandgehäusen
angebracht sind und gleichzeitig zum Anhängen des Fernhörers in
der Gesprächsruhe dienen, und Gabelumschalter, die
bei Tischgehäusen unter Verwendung der für das Auflegen des Handapparats
bestimmten Gabel wirken:
Sie haben den Zweck, beim Abnehmen und Anhängen bzw. Aufnehmen
und Niederlegen des Fernhörers oder Handapparats zwangsläufig Schaltungen
in den Stromkreisen auszuführen. Haken oder Gabel sollen nur die
Bewegung auf die Kontaktfedern übertragen, aber mit den stromführenden
Teilen nicht in Berührung kommen. Dazu sind einzelnen Kontaktfedern
untereinander und gegen Erde isoliert und aus gut federndem Material
hergestellt.
|
 |
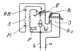
Im OB-Gehäuse soll der Umschalter U
bewirken, daß der Wecker W in die Leitung liegt
und beim Abnehmen des Fernhörers an Stelle des Weckers der Fernhörer
eingeschaltet wird. Der Umschalter besitzt daher einen Wechselkontakt,
dessen mittlerer Teil mit der a-Leitung (über den Ruhekontakt
k des Kurbelinduktors
J), dessen Ruhekontakt über den Wecker und dessen Arbeitskontakt
über den Fernhörerstromkreis mit der b-Leitung verbunden ist. Außerdem
ist noch ein Kontakt vorhanden, der im Ruhestand geöffnet ist, beim
Abnehmen des Fernhörers aber den Mikrophonkreis (U-OB-S-M)
schließt. |
| Bei ZB-Gehäusen hat der Umschalter (Bild
1 und 2) nur die Aufgabe, das Mikrophon mit der ersten Wicklung
der Induktionsspule an den a- und b-Zweig der Leitung anzuschalten,
dadurch den Anrufstromkreis zu schließen und dem Mikrophon Speisestrom
aus der Zentralbatterie des Amtes zuzuführen. Der Umschalter braucht
daher nur mit einem Arbeitskontakt ausgerüstet zu werden: |
|
|
| Bei den Tischgehäusen ZB ist noch ein Zusatzarbeitskontakt
angebracht, der den Kondensator kurz schließt und damit den Wecker
dem Mikrophon als Gleichstrombrücke parallel schaltet, sobald der
Handapparat abgenommen wird. Diese Vorkehrung soll bezwecken, daß
das Schlußzeichen beim Amt auch dann genügend Strom erhält, wenn der
Handapparat durch den Teilnehmer schief gehalten oder weggelegt wird,
wodurch u. U. der Stromkreis im Mikrophon unterbrochen werden kann. |
| Quelle: Handwörterbuch für
das elektrische Fernmeldewesen |
|