Overview
  Induktor
  Kurbelinduktor

Der Induktor - auch Kurbelinduktor - dient in Fernsprechnetzen mit OB-Betrieb zum Anruf des Vermittlungsamts; bei einigen Ausführungsformen auch zum Anruf der Teilnehmer vom Amt oder untereinander. Desweiteren werden sie zum Anruf der Nebenstellenin in kleinen Klappenschränken und Zwischenstellenumschaltern eingesetzt.

Sie sind kleine magnetelektrische Maschinen zur Erzeugung von Wechselstrom, bei denen in einem magnetischen Feld ein in mehreren Windungen geführter Leiter (Spule) drehbar angebracht ist, der durch Schleifringe mit der Außenleitung verbunden ist:

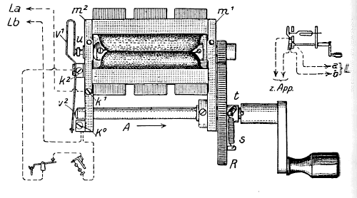
Zur Erzeugung des magnetischen Feldes benutzt man Dauermagneten. Der Stromleiter ist auf einen Eisenanker, der sich zwischen den Polen des Magneten dreht, aufgewickelt. Zum Antrieb dient eine Kurbel, die mittels einer Zahnradübersetzung den Anker dreht. Für den Dauermagneten, allgemein in Form eines Hufeisens, benutzt man besten Magnetstahl. Man teilt den Magnet in Lamellen, von denen man je nach der geforderten Feldstärke 3 bis 6 Lamellen nebeneinander anordnet.

Der Anker aus Weicheisen hat einen Doppel-T-förmigen Querschnitt und ist mit Ansätzen für die Achse versehen. In einigen Fällen ist der Anker auch aus einzelnen Plättchen zusammengesetzt um das Auftreten von Wirbelströmen zu vermindern. Der zylindrische Raum ist so abgepaßt, daß zwischen den Flächen der Polschuhe und des Ankers nur ein ganz schmaler Luftspalt von etwa 0,25 mm bleibt, um den magnetischen Widerstand im Magnetkreis möglichst herabzusetzen. Für die Ankerwicklung wird Kupferdraht von 0,1 bis 0,3 min Stärke, der mit Seide umsponnen ist, benutzt. Die Wicklung wird mit Leinen abgedeckt, das mit Bernsteinlack getränkt ist, um eine bessere Isolation zu erhalten.

Zum Ansprechen der Wecker in den Sprechstellen ist eine bestimmte Periodenzahl des vom Induktor erzeugten Wechselstroms erforderlich. Sie soll nicht unter 15 in der Sekunde betragen. Mit der Hand kann man, ohne zu ermüden, nur etwa 3 Umdrehungen in der Sekunde machen. Man schaltet daher ein Zahnradgetriebe R im Übersetzungsverhältnis 1: 5 dazwischen, um die geforderte Umdrehungszahl zu erreichen.

Die Ankerwicklung setzt den Sprechströmen einen hohen Widerstand entgegen und wird daher nicht unmittelbar in die Leitung gelegt, sondern nur angeschaltet, wenn Rufstrom gesandt werden soll. Dies erfolgt selbsttätig beim Drehen der Induktorkurbel. Die Kurbelachse ist nicht fest mit dem Zahnrad verbunden, sondern wird erst durch Drehung mit ihm gekuppelt (siehe Nut t). Hierbei wird die Achse in der Längsrichtung verschoben (Richtung A) und hebt sich dadurch von einer Kontaktfeder (v2) ab, die die Ankerwicklungen kurzgeschlossen hatte. Gleichzeitig werden der Sprechapparat und der Wecker kurzgeschlossen (Kontakt k0), so daß die abgehenden Weckströme nicht den eigenen Apparat beeinflussen.

Beispiel für die Anwendung eines Kurbelinduktors: OB-Tischfernsprecher (Dänemark)

Quelle: Handwörterbuch für das elektrische Fernmeldewesen