|
In handbetriebenen Vermittlungsstellen werden die Einrichtungen
zum Anzeigen eines Anrufes, die Abfrageeinrichtungen und die Verbindungsorgane
in einem Schrank, dem Klappenschrank vereinigt. Diese
Bezeichnung rührt daher, daß als Anruf und ggf. auch
als Schlußzeichen Fallklappen
verwendet werden.
Bei handbedienten Nebenstellenanlagen
mit mehr als einer Nebenstelle werden häufig ebenfalls Klappenschränke
als Vermittlungseinrichtungen eingesetzt. Hier werden von einer
Bedienungsperson die Amts-
und Nebenstellenleitungen zum Verkehr untereinander über
Klinken und Stöpsel
(Bild 1) oder über Schalter
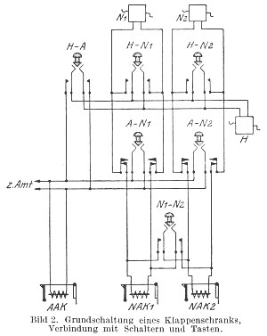
bzw. Tasten (Bild 2) verbunden:
|
 |
 |
|
N .......... Nebenstellen
NAK .... Nebenstellenanrufklappe
VS ........ Vermittlungsstöpsel
AAK .... Amtsanrufklappe
H .......... Hauptstelle (Abfrageapparat)
SU......... Sprechschlüssel
|
|
Während man bei den nur für eine Nebenstelle bestimmten
Zwischenstellenumschaltern
(die früher ebenfalls als Klappenschränke ausgeführt
wurden) mit einem hörbaren Anrufzeichen (das seiner Art nach
eindeutig ist) auskommt, müssen bei den Klappenschränken
für mehrere Nebenstellen auch sichtbare Zeichen vorhanden sein,
damit erkannt werden kann, in welcher Leitung gerufen oder das Schlußzeichen
gegeben worden ist. Dafür werden Klappen
und Schauzeichen verschiedener
Art verwandt.
Die Klappenschränke für Nebenstellenanlagen werden in
mannigfachen Ausführungsformen und für OB-,
ZB- oder ZB/SA-Betrieb
hergestellt.
Beispiele für kleine Nebenstellen-Klappenschränke:
|
|
Zwischenstellenumschalter
Kleinst-Nebenstellenanlage für eine Amtsleitung und eine
Nebenstelle - hier bereits mit sichtbaren Anrufzeichen.
ZB-Ausführung, vorbereitet für Selbstanschlußbetrieb,
Amtsanruf mit Fallklappe, Nebenstellenanruf über Gitterschauzeichen.
Amts-Nebenstellen-Verbindung mittels Drehschalter
Siehe auch Zwischenstellenumschalter.
leider verfüge ich bis dato über keine Schrankausführung
|
 |
|
Pyramidenschrank
für 5 Leitungen, mit schnurlosen Stöpseln
Ohne eingebaute Abfrageeinrichtung, dazu wird ein einfacher OB-Fernsprecher
zugegeben. Für jeden möglichen Verbindungsweg 1-2, 1-3,
1-4 ... 3-5, 4-5 ist eine eigene Klinke vorgesehen, die pyramidenförmige
Anordnung erleichtert deren Auffinden und gibt dem Schrank seinen
Namen.
Je Leitung eine Fallklappe als Anruf- und Schlußzeichen.
Siehe auch Pyramidenschrank.
leider ebenfalls noch kein Sammlungsexemplar vohanden
|
 |
|
Klappenschrank
OB 05
für 5 Leitungen
Fallklappen als Anrufzeichen, Abfragen mittels schnurlosen Stöpsels
(oben), zwei Vermittlungsschnurpaare, zwei Schlußklappen (rot)
Schaltungsprizip siehe Bild 1 (oben).
|
 |
|
Klappenschrank ZB
13
für 2 Amtsleitungen, 5 Nebenstellen
Amtsanrufzeichen: zwei Fallklappen
Nebenstellenanrufzeichen: Gitterschauzeichen (darunter)
Gesprächsüberwachung: zwei Sternschauzeichen
Verbindungen der Nebenstellen mit den Amtsleitungen über spezielle
Tasten (rote Reihen), der Nebenstellen untereinander mittels Klinken
und Stöpselschnüre (letztere fehlen auf der Abb.)
Schaltungsprizip siehe Bild 2 (oben).
|
 |
|
Klappenschrank für Reihenanlagen
dient zur Vermittlung von Gesprächen zwischen Außennebenstellen
und den Reihenstellen sowie Amtsleitungen einer Reihenanlage
und wird der Reihenhauptstelle beigestellt. Außerdem beinhaltet
er die Anrufzeichen (Fallklappen) der Amtsleitungen.
Ausführung für 10 Leitungen und 3 Verbindungsmöglichkeiten.
...auch nach einem solchen Schrank bin ich noch auf der Suche
|
 |
| Quelle: Handwörterbuch für
das elektrische Fernmeldewesen |