|
In Fernsprechapparaten kommen besondere Hebelumschalter
in großem Maßstabe zur Anwendung, die auch als Hörschlüssel
bezeichnet werden, wenn sie zum Umschalten der Verbindungen zwischen
Stöpsel und Abfrageapparat in Telephonzentralen dienen. Nach der
Einführung durch die amerikanische Kellog.Co. werden
sie auch als Kellogschalter bezeichnet.
|
 |
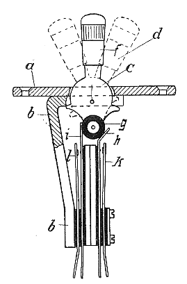
| Untenstehende Abbildung zeigt einen Hörschlüssel normaler
Ausführung in Seitenansicht: |
 |
Er besteht aus einer Grundplatte a, auf welcher
in kräftiger Eisenwinkel b befestigt ist. Die Grundplatte
und der Eisenwinkel besitzen einen Schlitz, in dem eine runde Scheibe
c mittels der Achse d gelagert ist.
Die Scheibe endet nach oben in einem Hebel mit Griff f,
welcher die gezeichneten Stellungen einnehmen kann. An der unteren
Seite der Scheibe befinden sich eine oder mehrere drehbare Hartgummirollen
g, die den Konfaktfedern h i gegenübergestellt
sind. Die letzteren sind meist paarweise vorhanden Durch Umlegen
des Hebels f in die eine oder andere Endstellung werden
die entsprechenden Federn umgebogen, so daß sie mit den ihnen gegenüberliegenden
Federn k l usw. in Verbindung kommen. Entsprechend
der Biegung der Federn i h wird der Hebel entweder
zurückfedern (hier nach rechts) oder in der eingestellten Lage verharren
(nach links).
|
| Mögliche Hebelstellungen sind rastend oder nichtrastend,
ein- oder beidseitig; auch beliebig kombiniert. |
 |
Eine interessante Variante mit vier Federsätzen und gemeinsamem
Betätigungshebel findet sich im Mithörapparat
33 f. 10 Leitungen als Nachtschalter
zur Dunkelschaltung der Belegtlampen, da dafür 10 (in der bauglichen
Ausführung für 15 Leitungen sogar 15) Unterbrechungskontakte
erforderlich sind. |
| Quelle: Beckmann, Telephon- und Signalanlagen |