principeslocal batterycentral batteryautomatic
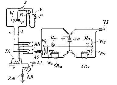
  Zentralbatterie-Grundschaltung
  
(Handvermittlung)

Bei den Z.B.-Anlagen werden die Mikrophone ebenso wie die Schlußzeichen und sonstigen Apparate aus einer Zentral-Batterie (Z.B.) gespeist, die auf dem Vermittlungsamt untergebracht ist. Die Spannung beträgt im allgemeinen 22 bis 24 Volt, so daß für die Mikrophone je nach der Leitungslänge eine Stromstärke von etwa 20 bis 60 Milliampere zur Verfügung steht.

Das Mikrophon kann in Hintereinanderschaltung mit dem Fernhörer unmittelbar an die Sprechleitung gelegt werden. Wenn diese Schaltweise auch den Vorzug der Einfachheit hat, so ist doch von Nachteil, daß der Mikrophonstrom über den Fernhörer fließt. Infolgedessen versagt bei vollständiger Unterbrechung der Fernhörerschnur der selbsttätige Amtsanruf, und bei schadhafter Schnur entstehen starke Geräusche im Fernhörer, die eine Verständigung bisweilen unmöglich machen.diesem Grunde ist es ratsamer, auch bei Z.B.-Anlagen den Mikrophon und Fernhörerstromkreis durch eine Induktionsspule (S) zu trennen

Der Anruf des Vermittlungsamtes erfolgt selbsttätig beim Abnehmen des Fernhörers (F), indem die Sprechleitungen (a, b) über die Primärwicklung der Induktionsspule (S), den Hakenumschalter (U) und das Mikrophon (M) miteinander verbunden werden.

Infolgedessen fließt aus der gemeinsamen Batterie (Z. B.), die nur der Übersicht halber auf der Zeichnung zweimal dargestellt ist, ein Strom über das Anrufrelais (AR), das seinen Anker anzieht und dadurch die Anruflampe (AL) zum Aufleuchten bringt. Diese bezeichnet der Beamtin die Klinke (AK) des anrufenden Teilnehmers.

Sobald in letztere ein Abfragestöpsel (AS) eingeführt wird, erhält das Trennrelais (TR) Strom, das Anrufrelais (AB) und Lampe (AL) abschaltet. Gleichzeitig wird das zum Abfragestöpsel (AS) gehörende Schlußzeichenrelais (SRa) erregt, da der Teilnehmer sich in Anrufstellung befindet, d. h. den Hörer vom Hakenumschalter genommen hat. Die eine Schlußzeichenlampe (SLa) wird infolgedessen durch einen niederohmigen Widerstand (Wa) überbrückt und erlischt.

Bei der Herstellung der Verbindung mit dem verlangten Teilnehmer wird das ihm zugeordnete Trennrelais erregt, so daß das Anrufrelais abgeschaltet. wird. Gleichzeitig wird das am Verbindungsstöpsel (VS) liegende Schlußzeichenrelais (SRv) an die Teilnehmerleitung geschaltet, ohne zunächst anzusprechen, da der Fernhörer bei dem verlangten Teilnehmer noch nicht abgenommen worden ist. Infolgedessen leuchtet die zweite Schlußzeichenlampe (SLv) solange auf, bis der Teilnehmer den Anruf entgegengenommen hat. Die Beamtin kann somit an dem Zustand der Schlußzeichenlampe (SLv) erkennen, ob der Teilnehmer sich meldet oder nicht.

Bei Gesprächsschluß hängen beide Teilnehmer den Fernhörer wieder an, so daß der Gleichstromfluß über die Sprechleitungen und das Schnurpaar unterbrochen wird. Infolgedessen werden die Schlußzeichenrelais (SRa, SRv) ausgeschaltet und die dazugehörenden Lampen (SLa, SIv) zum Aufleuchten gebracht, wodurch die Beamtin zur Trennung der Verbindung berechtigt wird.

Quelle: Willers, Die Nebenstellentechnik