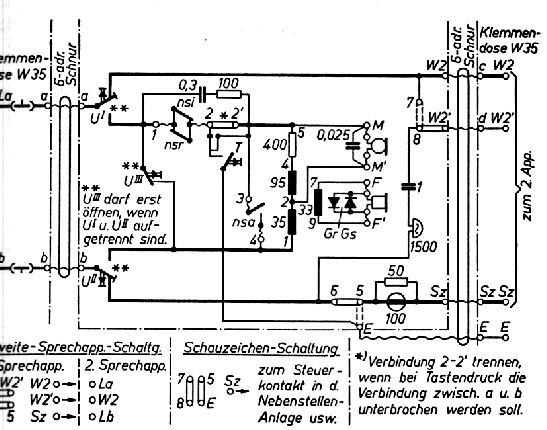
OverviewSchematic Diagram
  Tischfernsprecher W48 mit Schauzeichen
  
(DBP, DB)

Stromlaufplan,
hier Ausführung W48a mit Erdtaste und umschaltbarem Schauzeichen.