OverviewDetailsSchematic Diagram
  W-Tischapparat D08 mit Zählwerk
  
Automatic (Kobenhavns Telefon A.S.)

Stromlaufplan

Leider konnte ich den Plan nur abfotografieren, das mäßige Foto erscheint mir aussagekräftiger als eine Schwarzweißkopie.

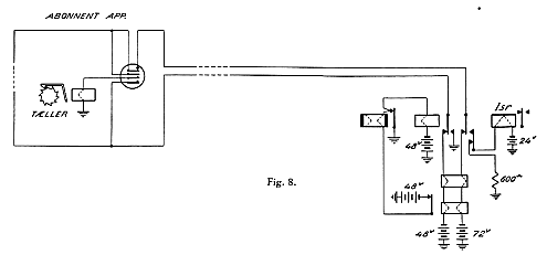
Schaltungsauszug für die Ansteuerung des Gesprächszählwerkes (Tæller)