OverviewDetailsSchematic Diagram
  ZB-Tischfernsprecher S-07 mit Zählerk   Zwietusch (K.T.A.S.)

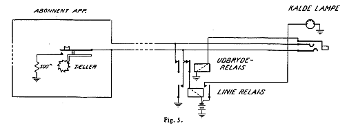
Schaltbild - Auszug für den Zählwerkskontakt
Die Anruflampe erscheint erst, nachdem über den Zählwerkstastenkontakt (d.h. nach Zählung) Erde an das Linienrelais gelegt wurde.

Tæller - Zähler
Kalde Lampe - Anruflampe
Udbryde Relais - Trennrelais